
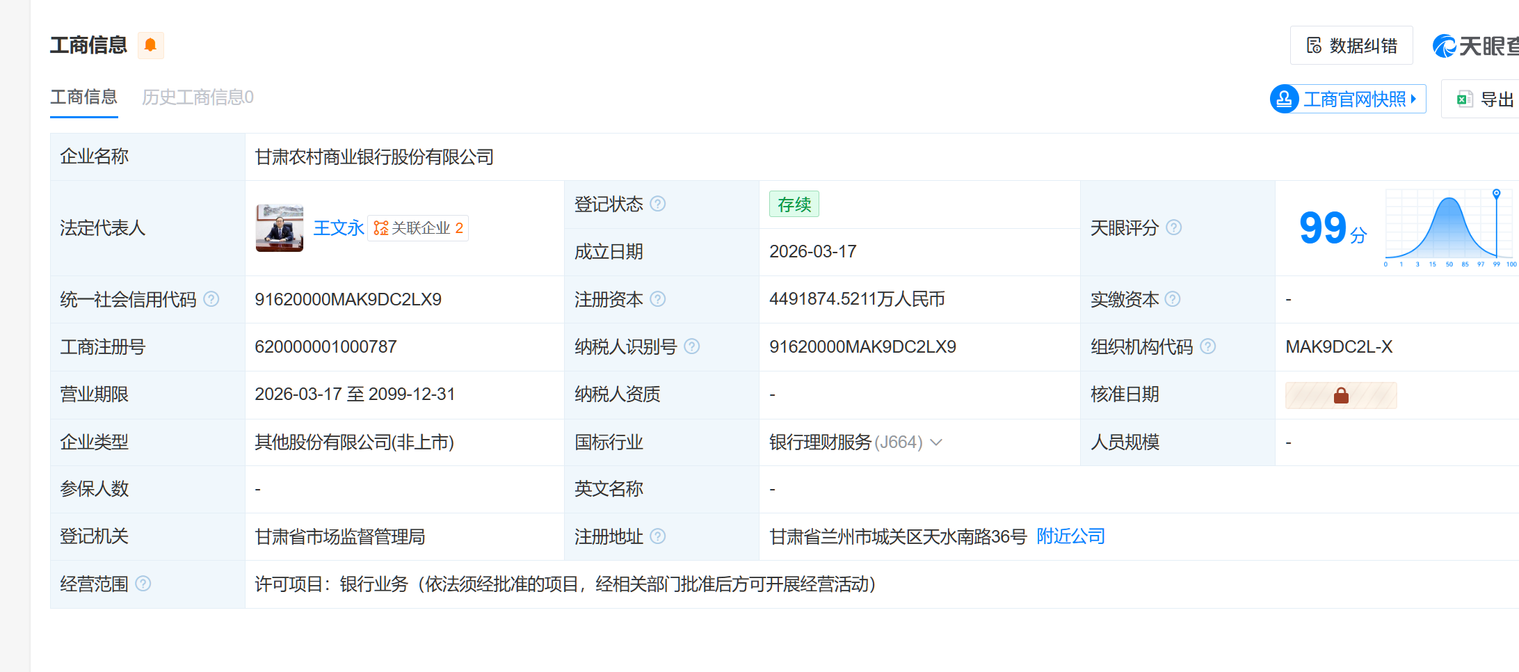
天眼查工商信息显示,3月17日,甘肃农村商业银行股份有限公司正式成立,法定代表人为王文永,注册资本449.2亿元人民币,经营范围涵盖各类银行业务。
股东信息显示,该行由甘肃省国有资产投资集团有限公司、甘肃能源化工投资集团有限公司、甘肃省公路交通建设集团有限公司、酒泉钢铁(集团)有限责任公司等多家省属国企共同持股。

2月13日,国家金融监管总局官方曾发布批复,同意筹建甘肃农村商业银行股份有限公司,批复时间为2月9日。该行也成为2026年全国首家获批的省级统一法人农商银行。
据每日经济新闻报道,截至2026年初,已有13个省份完成省级法人机构组建,形成“统一法人”农商银行与农商联合银行双轨并行的格局。
具体来看在线配资平台大全,辽宁、海南、河南、内蒙古、吉林、新疆等地选择“统一法人”农商银行模式;浙江、山西、四川、广西、江苏、江西以及贵州等地选择农商联合银行模式。2026年开年,除甘肃外,云南、宁夏、黑龙江等省份也已明确将推进省级农信改革。
博星优配提示:文章来自网络,不代表本站观点。